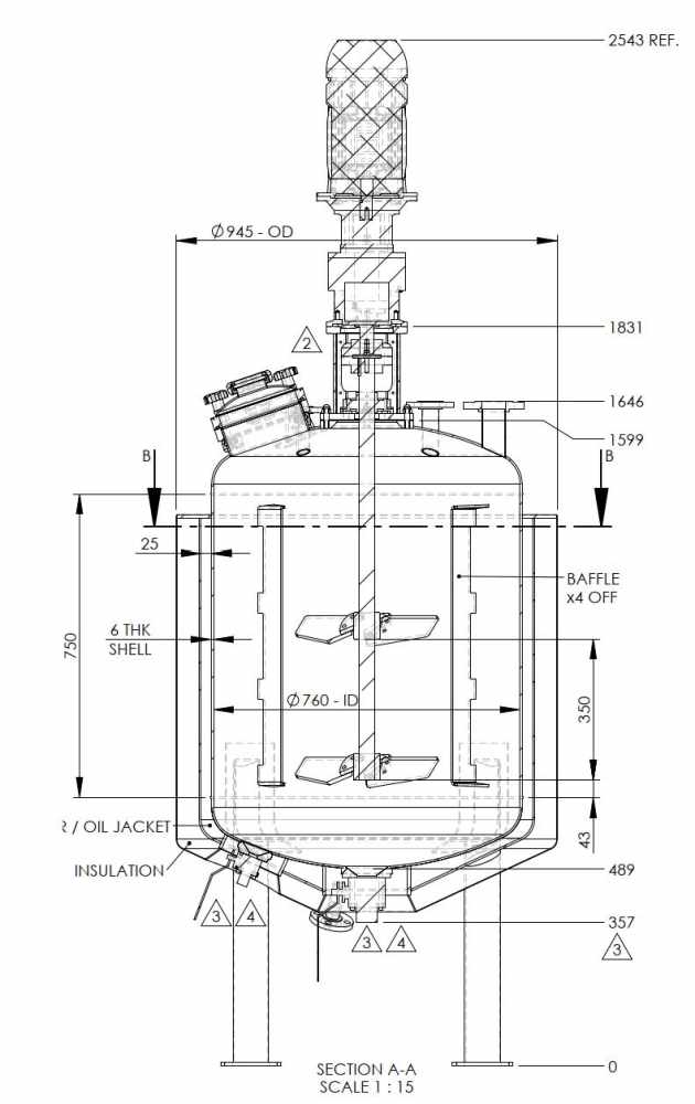
1 of 3 jacketed reactors. This vessel is a 300 litre vacuum vessel with operating pressure of full vacuum, a hot oil jacket pressure of 300kPa at 100˚C.


The vessel is fitted with a 200 Ø inspection hatch incorporating a sight glass, the outlet has a flush fitting ball valve for minimal dead leg along with other general nozzles. The gearmotor is EX rated and has an oil expansion chamber.



All designed and built from scratch with pride and care in our Minto workshop.
For more information see https://dev.stainlesstanksandmixers.com.au/products/silos-tanks-vessels-vats/jacketed-vessels/
Contact us for a bespoke system to suit your specific needs
